Устройство, которое поможет справиться с тремором рук
Компания Cala Health - стартап, возникший "под крылом" Стэнфордского университета, начала клинические испытания своего устройства для лечения тремора (дрожания) рук и кистей. Эту свою разработку компания впервые показала еще в 2013 году (тогда фирма называлась Resido Medical).
Кроме того, она получила очередной раунд инвестиций в размере $18 млн от своих инвесторов, в число которых входят Johnson & Johnson Development Corporation, Lux Capital и Lightstone Ventures.
Пока разработчики отказываются сообщать подробности о своем изобретении, но некоторая информация стала известна из конкурсного описания (компания в 2013 году выиграла с этим устройством несколько технологических конкурсов) и патентной заявки, которую Cala Health подавала в 2014 году.
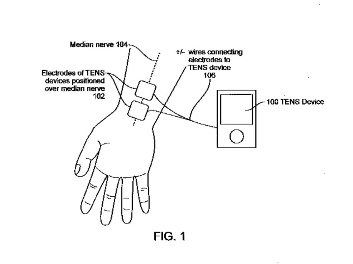
Система представляет собой комбинацию похожего на часы устройства и имплантируемого сенсора, который помогает контролировать тремор и не мешает пользователю вести обычную жизнь. При этом устройство использует электростимуляцию нервов. Как сказано в патентном описании, "это прибор для стимуляции периферической нервной системы, который передает сигналы через чувствительные нервы в центральную нервную систему с целью модификации ненормальной динамики. Со временем такая стимуляция нормализует нейронные импульсы и уменьшает тремор". Судя по тому, что компания сейчас владеет торговой маркой Cala Wave, так и будет называться устройство, когда оно появится на рынке.
