5 медицинских патентов Google
Google интенсифицирует свою деятельность в здравоохранении, не забывая при этом патентовать свои идеи и изобретения. Вот и совсем недавно компания подала заявку на патент на механизм, который может определять, когда пациент ест и отправлять соответствующее напоминание о необходимости принять лекарство.
На сопровождающем описание рисунке показан похожий на "умные" часы прибор, который, по-видимому, должен определять, то пользователь ест (основываясь на движениях руки и кисти) и воспроизводить сообщения.
Возможно, этот патент имеет отношение к Liftware, специальной ложки для людей, страдающих болезнью Паркинсона, которая была разработана компанией Lift Labs, купленной Google в прошлом году. Насколько известно, компания Verily (ранее Google X Life Sciences) планировала добавить систему напоминания о приеме медикаментов к очередной версии Liftware.
Вообще говоря, подобные патенты для такой большой компании, как Google, не всегда воплощаются в какие-либо будущие продукты. Но информация о них позволяет отслеживать, в каком направлении работают специалисты компании, которая всегда старалась нанимать лучших профессионалов в своей сфере. И, исходя из этого, мы хотим напомнить вам о других патентных заявках Google, которые имеют отношение к здравоохранению.
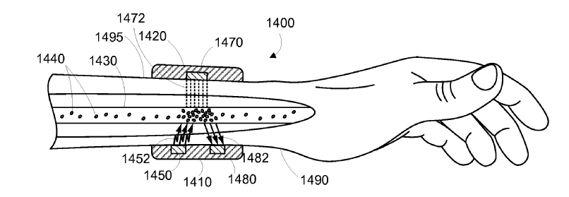
Заявка на патент устройства для безболезненного анализа крови
Механизм, описанный в патенте Google, использует механизм отбора крови для носимых устройств в виде миниатюрного сосуд, содержащего микрочастицы, которые при резкой подаче газа в сосуд внедряются под кожу и собирают в себя небольшие количества крови. После образования капельки, он всасывается в сосуд за счет возникновения в нем отрицательного давления. По утверждению Google такой забор крови будет даже менее болезненным, чем укол ланцетом современного глюкометра, который практически нечувствителен. Этот патент, возможно, имеет какое-то отношение проекту, который Google осуществляет совместно с Dexcom и в рамках которого предполагается разработка миниатюрного устройства для диабетиков.
Патент на "умные" контактные линзы
Это редкий пример, когда патент имеет отношение к уже существующему продукту - контактным линзам, которые Google разрабатывает совместно с дочерней фирмой фармацевтического гиганта Novartis компанией Alcon и которые предназначены для контроля уровня сахара путем анализа слезной жидкости. Эти линзы должны измерять уровень глюкозы в слезах при помощи миниатюрных приборов – чипа и сенсора глюкозы, размещенных между двумя слоями мягкого материала контактной линзы.
Так вот Google подала патентную заявку, согласно которой сенсор "умных" контактных линз, которые разрабатывает поисковый гигант, будет работать от внешнего источника питания, и он будет карманным или встроенным в соответствующее носимое устройство.
Как сказано в патентном описании, "внешнее считывающее устройство (ридер) может излучать радиоволны, которые будут использоваться для питания датчика".
"Умные часы" для обнаружения рака
В мае прошлого года Google подала заявку на патент, причем, что интересно, не в соответствующее ведомство в США (USPTO), а в World Intellectual Property Organization. Этот патент касается наручного устройства, которое будет "выборочно определять целевые показатели крови, которые связаны с процессами, оказывающими негативное влияние на организм человека", позволяя таким образом "определять цели, которые должны быть выборочно изменены или уничтожены с помощью энергии извне тела, с тем, чтобы неблагоприятные последствия для здоровья были ликвидированы или уменьшены".
Хотя формулировка звучит совершенно фантастически, в принципе это не сильно отличается от проекта, связанного с наночастицами и "таблеткой от рака", над которым работает Verily. В этом проекте речь идет об устройстве, которое сможет определять состав крови человека при помощи «умных» наночастиц, которые попадут в кровь пациента, когда он проглотит специальную таблетку. Данные с них будет считывать сенсор, размещенный на запястье. Таким образом можно будет обнаружить мельчайшие изменения в биохимии организма человека.
Электронная татуировка, определяющая ложь
Упоминание о такой идее было замечено в 2013 году в патентной заявке, которая касалась использования "электронной татуировки" на горле, которая позволяет легче говорить по телефону в шумных помещениях. В тексте описания указывается, что такая "татуировка" может также измерять кожно-гальваническую реакцию. Такая идея может найти применение в приложениях, определяющих, лжет ли человек (детектор лжи), или системах мониторинга здоровья.
Источник: MobiHealth News



