CELLINK будет делать индивидуальный лифтинг лица с помощью роботизированной трехмерной биопечати
Производитель 3D-биопринтеров компания CELLINK запатентовал новую роботизированную систему, которая использует биопринтинг для проведения автоматизированных эстетических медицинских процедур.
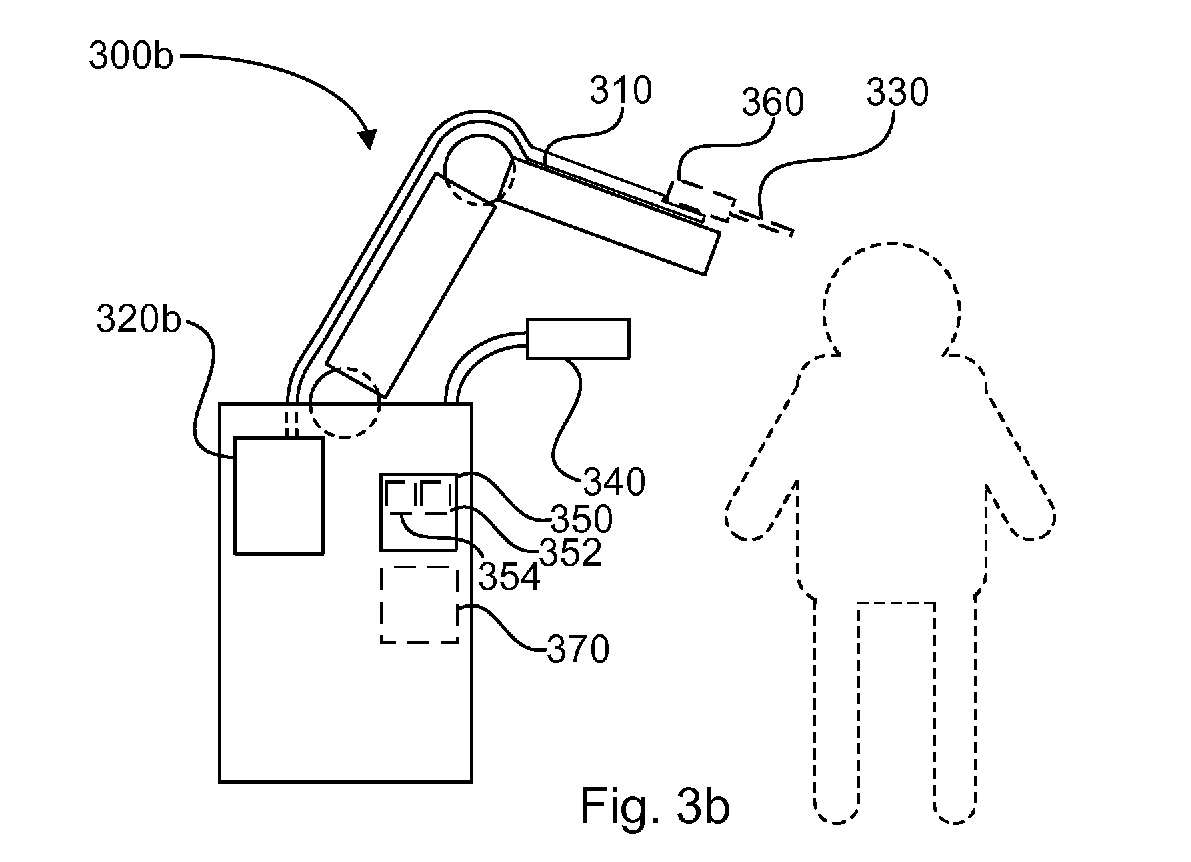
Патент компании, применимый пока только в Швеции, охватывает загрузку 3D-скана лица пациента в автономную систему, которая использует эти данные для проведения косметических процедур с помощью роботов с функцией биопечати.
Учитывая, что изобретение потенциально обеспечивает пациентам более быстрые и точные пластические операции, CELLINK утверждает, что при дальнейшей доработке оно может найти коммерческое применение.
Патентуемая система компании является результатом объединения знаний в области 3D-биопечати, биоматериалов, робототехники, автоматизации и искусственного интеллекта, а также попыткой оптимизировать введение как косметических, так и хирургических наполнителей.

В частности, CELLINK рассматривает свое изобретение как возможность проведения автоматизированных, оцифрованных и персонализированных операций на лице. Используя алгоритм, основанный на искусственном интеллекте, система должна сравнивать введенный скан лица пациента с его желаемыми эстетическими характеристиками и составлять план дозирования, который вводит оптимальное количество филлера в каждую область лица.
Согласно CELLINK, новизна системы заключается в ее "изобретательском шаге и промышленной применимости", поскольку по сравнению с операциями, проводимыми человеком, автоматизированная природа системы может помочь снизить вероятность любых осложнений, связанных с дозированием, и обеспечить улучшенные результаты для пациентов более быстрыми темпами, чем раньше.
Система использует метод 3D-сканирования - технологию, нашедшую применение во всем, от цифровой идентификации до операций на лице. Например, компания MirrorMe3D также использует методы сканирования и моделирования, чтобы позволить пациентам "попробовать пластическую операцию" перед покупкой. Используя 3D-моделирование, клиенты компании могут смоделировать свой идеальный образ и заказать 3D-отпечаток, чтобы убедиться, что они довольны, а затем записаться на консультацию и пройти операцию с большей уверенностью.