Появится ли на рынке «умная» одежда от Apple?
Согласно недавно опубликованной патентной заявке Apple, компания работает над созданием токопроводящей пряжи для одежды, подключенной к iPhone. Подобная одежда может использоваться для отслеживания состояния здоровья пользователя и передачи этой информации на устройства Apple для дальнейшей обработки.
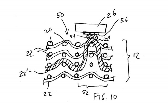
В описания патента указывается, как можно создавать изделия, такие как перчатки, которые работают с сенсорными экранами, используя саму ткань в качестве метода соединения. Описанная в патентной заявке ткань производится из проводящей и изолирующей пряжи, где проводящие нити находятся во внутренних слоях ткани, в то время как изолирующие нити находятся снаружи, чтобы предотвратить любой ненужный контакт. Токопроводящие нити могут также служить связующим звеном между несколькими точками на куске ткани. Конечный результат заключается в создании ткани, которая похожа на любую другую ткань, но с "проводкой", встроенной на уровне, где она не обнаруживается. В описании отмечается, что
Эти элементы могут использоваться совместно с вставками, которые, в свою очередь, взаимодействуют с традиционными электронными компонентами, включая датчики, контакты и устройства вывода. Поскольку вставки могут выполнять роль гибкой подложки печатной платы и иметь "изогнутые змеевидные контакты", которые помогают поддерживать связь с другими компонентами, они могут являться удобными точками для установки других электронных компонентов.
Отметим, что, как и в случае с любым другим патентом Apple, нет никаких гарантий, что компания будет использовать эту концепцию в любом из своих будущих продуктов.

